Стойка установочная ГОСТ 20866-81 крепежная круглая с лысками и резьбовыми отверстиями
| Характеристики | |
| Материал: | Сталь |
- Код товара: ГОСТ 20866-81
Не нашли нужный материал или крепеж?
Отправьте нам заявку - мы изготовим.
Для более подробной консультации позвоните +7 (495) 505-01-10 или напишите нам письмо на
info@super-krepeg.ru
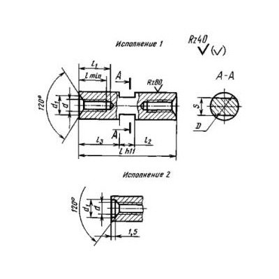
ГОСТ 20866-81 - стойки установочные крепежные круглые с лысками и резьбовыми отверстиями
Стойки установочные крепежные круглые с лысками и резьбовыми отверстиями применяются для монтажа радиоэлектронной аппаратуры.
Посмотреть документацию по ГОСТ 20866-81 

Таблица 1
| d | Шаг резьбы P | Размер под ключ S | D | d1 | l | l1 | l2 | |
| норм. | пред.откл. | |||||||
| 2 | 0.40 | 4.0 | -0.16 | 5 | 2.2 | 4 | 5 | 5 |
| 2.5 | 0.45 | 5.0 | -0.16 | 6 | 2.7 | 5 | 6 | 5 |
| 3 | 0.50 | 5.5 | -0.16 | 7 | 3.2 | 6 | 9 | 5 |
| 4 | 0.70 | 7.0 | -0.20 | 8 | 4.3 | 7 | 10 | 6 |
| 5 | 0.80 | 8.0 | -0.20 | 9 | 5.3 | 8 | 12 | 8 |
| 6 | 1.00 | 10.0 | -0.20 | 11 | 6.4 | 9 | 13 | 10 |
| 8 | 1.25 | 13.0 | -0.24 | 15 | 8.4 | 12 | 16 | 12 |
Таблица 2
| d | 6 | 7 | 8 | 9 | 10 | 11 | 12 | 13 | 14 | 15 | 16 | 17 | 18 | 19 | 20 | 22 | 24 | 26 | 28 | 30 | 32 | 34 | 36 | 38 | 40 |
| 2 | 0.5 | 1.0 | 1.5 | 2.0 | 2.5 | 3.0 | 3.5 | 4.0 | 4.5 | 5.0 | 5.5 | 6.0 | 6.5 | 7.0 | 7.5 | 8.5 | 9.5 | 10.5 | 11.5 | 12.5 | |||||
| 2.5 | 0.6 | 1.0 | 1.5 | 2.0 | 2.5 | 3.0 | 3.5 | 4.0 | 4.5 | 5.0 | 5.5 | 6.0 | 6.5 | 7.0 | 7.5 | 8.5 | 9.5 | 10.5 | 11.5 | 12.5 | 13.5 | 14.5 | 15.5 | 16.5 | 17.5 |
| 3 | 2.5 | 3.0 | 3.5 | 4.0 | 4.5 | 5.0 | 5.5 | 6.0 | 6.5 | 7.0 | 7.5 | 8.5 | 9.5 | 10.5 | 11.5 | 12.5 | 13.5 | 14.5 | 15.5 | 16.5 | 17.5 | ||||
| 4 | 2.0 | 2.5 | 3.0 | 3.5 | 4.0 | 4.5 | 5.0 | 5.5 | 6.0 | 6.5 | 7.0 | 8.0 | 9.0 | 10.0 | 11.0 | 12.0 | 13.0 | 14.0 | 15.0 | 16.0 | 17.0 | ||||
| 5 | 11.0 | 12.0 | 13.0 | 14.0 | 15.0 | 16.0 | |||||||||||||||||||
| 6 | 15.0 | ||||||||||||||||||||||||
| 8 |
Продолжение Таблицы 2
| d | 42 | 45 | 48 | 50 | 53 | 55 | 58 | 60 | 65 | 70 | 75 | 80 | 85 | 90 | 95 | 100 | 110 | 120 | 130 | 140 | 150 |
| 2 | |||||||||||||||||||||
| 2.5 | |||||||||||||||||||||
| 3 | 18.5 | 20.0 | 21.5 | 22.5 | 24.0 | 25.0 | 26.5 | 27.5 | |||||||||||||
| 4 | 18.0 | 19.5 | 21.0 | 22.0 | 23.5 | 24.5 | 26.0 | 27.0 | 29.5 | 32.0 | 34.5 | 37.0 | 39.5 | 42.0 | 44.5 | 47.0 | 52.0 | ||||
| 5 | 17.0 | 18.5 | 20.5 | 21.5 | 22.5 | 23.5 | 25.0 | 26.0 | 28.5 | 31.0 | 33.5 | 36.0 | 38.5 | 41.0 | 43.5 | 46.0 | 51.0 | 56.0 | 61.0 | ||
| 6 | 16.0 | 17.5 | 19.0 | 20.0 | 21.5 | 22.5 | 24.0 | 25.0 | 27.5 | 30.0 | 32.5 | 35.0 | 37.5 | 40.0 | 42.5 | 45.0 | 50.0 | 55.0 | 60.0 | 65.0 | |
| 8 | 29.0 | 31.5 | 34.0 | 36.5 | 39.0 | 41.5 | 44.0 | 49.0 | 54.0 | 59.0 | 64.0 | 69.0 |
Пример условного обозначения стойки исполнения 1 повышенной степени точности с диаметром резьбы d=4 мм, длиной L=30 мм, изготовленной из сплава марки В95Т1, покрытие окисное:
Стойка M4 х 30-В95Т1.05 ГОСТ 20866-81
То же, нормальной степени точности:
Стойка Н M4 х 30-В95Т1.05 ГОСТ 20866-81
То же, исполнения 2 нормальной степени точности:
Стойка 2Н M4 х 30-В95Т1.05 ГОСТ 20866-81
То же, повышенной степени точности:
Стойка 2 M4 х 30-В95Т1.05 ГОСТ 20866-81
